• Λ. Βουλιαγμένης 255, 17237 Δάφνη, Αθήνα
  • Δευτέρα - Παρασκευή 9:00 - 18:00
  • Τηλ.:2109704045 - 2108320976

Αναζήτηση ανταλλακτικών

Επιλέξτε το μοντέλο σας

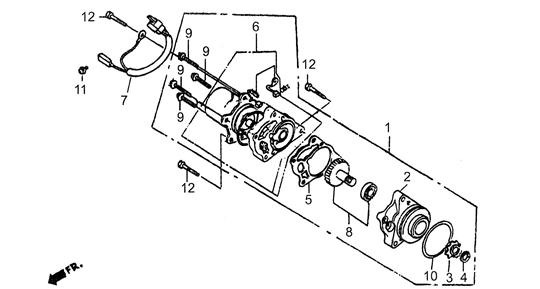
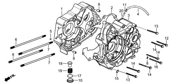
Ανταλλακτικά για DAYTONA - VELOS-R-125-E4

Το περιεχόμενο της σελίδας ανήκει στην ΓΚΟΡΓΚΟΛΗΣ Α.Ε.
Απαγορεύεται η χρήση, αντιγραφή, διανομή ή τροποποίηση οποιουδήποτε υλικού αυτής της ιστοσελίδας χωρίς γραπτή εξουσιοδότηση, καθώς προστατεύεται από τις περί πνευματικής ιδιοκτησίας διατάξεις.

Κατηγορίες

Επιστροφές

Πάντα με την πλευρά του πελάτη

Τρόποι πληρωμής

Σύμφωνα με τις δυνατότητές σας

Online Υποστήριξη

Διαθέσιμοι καθημερινά

Εγγύηση ποιότητας

Σε γνήσια και μεταχειρισμένα